Join
Login
Mypage
Support
WINDBOY?
Map
Group
Issue
Solution
How to use
WINDBOY?
Map
Group
Issue
Solution
How to use
Solution
[티끌] 빨래를 하면 말릴 곳이 없다
xlrmfahdkxotks
2019 부산기계공고 공감 설계교육 아카데미
Issue
2019-04-20
Total
Slide Show
빨래를 하면 말릴 곳이 없다
#부산기계공업고등학교
#공감기술봉사캠프
xlrmfahdkxotks
2019-04-20 11:44:36
Problem Definition
Slide Show
건조대,건조기가 부족해서 빨래를 널기가 불편하다.
xlrmfahdkxotks
2019-04-20 15:29:59
Concept Design
Slide Show
공간활용을 이용한 실 내외 건조대를 설치한다.
xlrmfahdkxotks
2019-04-20 16:50:49
Concept Design
Slide Show
아이디어
xlrmfahdkxotks
2019-04-20 16:58:45
Improving the Idea
Slide Show
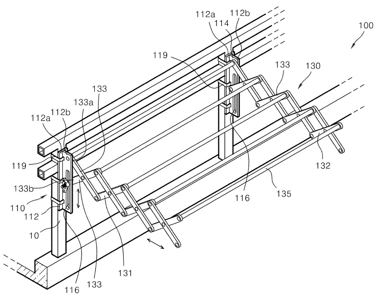
유사특허
xlrmfahdkxotks
2019-04-21 10:51:04
Detail Design
Slide Show
실외 건조대 제품 설계
xlrmfahdkxotks
2019-04-21 11:16:26
Manufacturing Design
Slide Show
실외 건조기 생산 설계도
xlrmfahdkxotks
2019-04-21 15:23:51
Purchasing Materials
Slide Show
재료 변경
수수깡 - 나무봉
xlrmfahdkxotks
2019-04-21 15:27:14
Making a Product
Slide Show
실외 건조대 제품 제작
xlrmfahdkxotks
2019-04-21 15:45:50
Product Description
Slide Show
실외 건조대 제품설명서
xlrmfahdkxotks
2019-04-21 15:49:42
Solution
Slide Show
실외 건조대 제품 완성